| Zgrzewanie ultradźwiękami elementów z tworzyw polega na wprowadzeniu ich w szybkie drgania mechaniczne z częstotliwością ok. 20 kHz. Wskutek tego następuje nagrzewanie powierzchni styku spajanych elementów do temperatury uplastycznienia. Wywierany jednocześnie nacisk na miejsca spajania powoduje zgrzewanie elementów. Ciepło, niezbędne do uplastycznienia tworzywa, wydziela się na powierzchni złącza oraz wewnątrz zgrzewanych materiałów wskutek tarcia cząstek polimeru wprowadzonych w mechaniczne drgania. Czas zgrzewania ultradźwiękowego nie przekracza 1-2 s i zależy od rodzaju tworzywa oraz grubości i kształtu łączonych elementów.
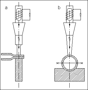
Zasadę procesu zgrzewania ultradźwiękowego przedstawia rysunek. Do przetwornika drgań jest doprowadzony z generatora prąd wysokiej częstotliwości. Przetwornik zmienia drgania elektryczne w mechaniczne o tej samej częstotliwości. Z przetwornikiem jest połączony trzpień drgający (sonotroda) , który przenosi drgania mechaniczne na zgrzewane materiały. Umieszczony naprzeciw sonotrody trzpień służy do przejmowania jej drgań oraz do odprowadzania wytwarzanego ciepła. Do łączenia tą metodą nadają się tworzywa odznaczające się wysoką zdolnością przenoszenia drgań mechanicznych, czyli materiały o dużym module sprężystości (poliwęglan, polimetakrylan metylu, poliestry termoplastyczne, tworzywa styrenowe, acetalowe oraz politlenek fenylenu). Aby przyspieszyć proces zgrzewania ultradźwiękami oraz uzyskać złącze o wymaganej wytrzymałości mechanicznej, należy odpowiednio ukształtować powierzchnie łączonych elementów, np. przez wykonanie w jednej z nich trójkątnego występu. W takim występie zachodzi intensyfikacja procesu wydzielenia ciepła, dzięki czemu następuje szybkie uplastycznienie materiału. |
|
Zasada zgrzewania ultradźwiękowego bezpośredniego (a), oraz zgrzewania ultradźwiękowego pośredniego (b):
Proces zgrzewania ultradźwiękowego wykorzystuje się często do łączenia części z tworzyw polimerowych z częściami z metalu:
Zgrzewanie izolacji do obicia wewnętrznego drzwi samochodowych
Przyrząd do ręcznego zgrzewania ultradźwiękami
|





